网站支持 IPv6
登录
个人中心
|
退出
首页
要闻动态
走进奇台
政务公开
政务服务
互动交流
数据开放
中国政府网
|
新疆政府网
|
昌吉州人民政府网
智能机器人
繁体版
登录
|
注册
个人中心
|
退出
无障碍
|
长者版
奇台县人民政府
www.
xjqt
.gov.cn
搜索
首页
要闻动态
走进奇台
政务公开
政务服务
互动交流
数据开放
当前页面:
首页
»
政务公开
»
法定主动公开内容
»
行政许可和其他对外管理服务
»
办件公示(线下)
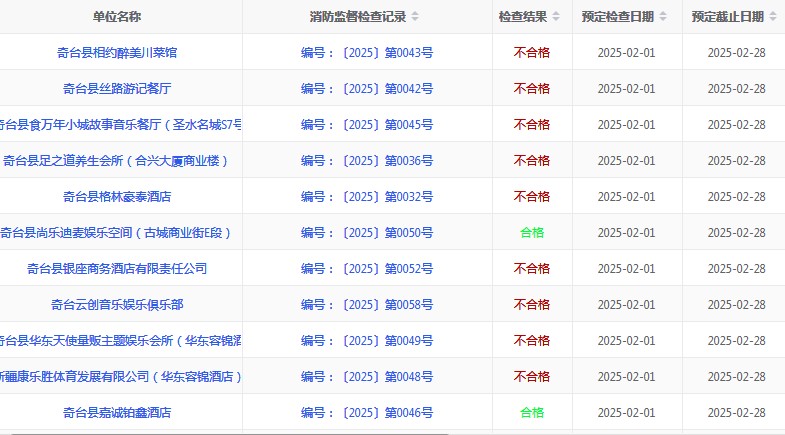
【其他对外管理服务信息】奇台县消防救援大队2月“双随机、一公开”检查结果公示
发布时间:2025-03-05 17:30:25
来源:奇台县消防救援大队
浏览次数:
0
次
文章字号:
大
中
小
分享至
微信
微博